ROHM BR24T1MFJ-3AME2
Manufacturer No:
BR24T1MFJ-3AME2
Manufacturer:
Package:
SOP-8
Description:
EEPROM, 128KX8, Serial, CMOS, PDSO8, SOP-8
Quantity:
Delivery:




Payment:







In Stock :Available
Price not displayed? Please send an RFQ, and we will respond immediately.
BR24T1MFJ-3AME2 information
ROHM BR24T1MFJ-3AME2 technical specifications, attributes, parameters and parts with similar specifications to ROHM BR24T1MFJ-3AME2.
- Type
- Parameter
- RoHS Status
- RoHS Compliant
- Part Life Cycle Code
- Active
- Ihs Manufacturer
- ROHM CO LTD
- Package Description
- SOP-8
- Reach Compliance Code
- compliant
- ECCN Code
- EAR99
- HTS Code
- 8542.32.00.51
- Factory Lead Time
- 16 Weeks
- Date Of Intro
- 2016-11-30
- Samacsys Manufacturer
- ROHM Semiconductor
- Additional Feature
- SEATED HT-CALCULATED
- Clock Frequency-Max (fCLK)
- 1 MHz
- JESD-30 Code
- R-PDSO-G8
- Length
- 4.9 mm
- Memory Density
- 1048576 bit
- Memory IC Type
- EEPROM
- Memory Width
- 8
- Number of Functions
- 1
- Number of Terminals
- 8
- Number of Words
- 131072 words
- Number of Words Code
- 128000
- Operating Mode
- SYNCHRONOUS
- Operating Temperature-Max
- 85 °C
- Operating Temperature-Min
- -40 °C
- Package Body Material
- PLASTIC/EPOXY
- Package Code
- LSOP
- Package Shape
- RECTANGULAR
- Package Style
- SMALL OUTLINE, LOW PROFILE
- Parallel/Serial
- SERIAL
- Peak Reflow Temperature (Cel)
- NOT SPECIFIED
- Screening Level
- AEC-Q100
- Seated Height-Max
- 1.65 mm
- Serial Bus Type
- I2C
- Supply Voltage-Max (Vsup)
- 5.5 V
- Supply Voltage-Min (Vsup)
- 1.7 V
- Supply Voltage-Nom (Vsup)
- 2.5 V
- Surface Mount
- YES
- Technology
- CMOS
- Temperature Grade
- INDUSTRIAL
- Terminal Form
- GULL WING
- Terminal Pitch
- 1.27 mm
- Terminal Position
- DUAL
- Time@Peak Reflow Temperature-Max (s)
- NOT SPECIFIED
- Width
- 3.9 mm
- Write Cycle Time-Max (tWC)
- 5 ms
Download datasheets and manufacturer documentation for ROHM BR24T1MFJ-3AME2.
BR24T1MFJ-3AME2 Overview
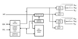
In this case, the memory type of the device can be classified as Non-Volatile. Case Tape & Reel (TR) is available. An embedded 8-SOIC (0.154, 3.90mm Width) case surrounds memory ics. It is estimated that the memory size on the chip is 1Mb 128K x 8. As with most mainstream devices, this one uses EEPROM-format memory. Due to its wide temperature range of -40°C~85°C TA, this device is well suited to a wide range of applications that require high performance. With 1.7V~5.5V as the supply voltage, it is capable of handling memory ics. It is recommended to mount it in the Surface Mount mounting type. It is planted on the chip with 8 terminations. It supports up to 1 functions for comprehensive operation. There is a requirement for 2.5V to be supplied to this ic memory chip in order to operate. In order to operate effectively, the memory rotates at a clock frequency within a range of 1MHz. This chip is not only loaded with advantages, but it also comes with SEATED HT-CALCULATED, which boosts the performance of your system. This part, which belongs to the Automotive, AEC-Q100 series of memory devices, plays an important role in its target applications. It is helpful to carry data to the CPU using the I2C-type serial bus that this memory integrates with.
BR24T1MFJ-3AME2 Features
Package / Case: 8-SOIC (0.154, 3.90mm Width)
Additional Feature:SEATED HT-CALCULATED
BR24T1MFJ-3AME2 Applications
There are a lot of ROHM Semiconductor
BR24T1MFJ-3AME2 Memory applications.
- networking
- personal computers
- servers
- supercomputers
- telecommunications
- workstations,
- DVD disk buffer
- data buffer
- nonvolatile BIOS memory
- Camcorders
User Guide
Please verify all part numbers, quantities, and packaging preferences before placing your order. If substitutions are acceptable, please indicate this clearly. For time-sensitive projects, confirm estimated delivery dates and stock availability in advance. Once submitted, changes or cancellations may not be possible, especially for items marked as non-cancellable/non-returnable (NCNR). For international shipments, please ensure all import documentation is complete and accurate to avoid delays.
MEANS OF PAYMENTFor your convenience, we accept multiple payment methods in USD, including PayPal, Credit Card, and Wire Transfer. Net terms may be available for qualified customers upon approval.
RFQ (REQUEST FOR QUOTATIONS)Please ensure the part numbers and quantities are accurate and complete when submitting your RFQ.
Provide target prices and acceptable alternatives, if any, to speed up the quotation process.
Quotations are subject to stock availability and may vary with market conditions. Prices and lead times are not guaranteed until a purchase order is confirmed. Ensure your contact details are correct to avoid delays in response.

Step1:Prepare product

Step2:Desiccant Protection

Step3:Vacuum Packaging

Step4:Individual Package

Step5:Anti-collision Filling

Step6:Packaging Box
1. Shipping starts at $40, but some countries will exceed $40. For example (South Africa, Brazil, India, Pakistan, Israel, etc.).
2. Some specific products need to reach the minimum order quantity.
3. It may cost additional remote fees for delivery if you are in a remote area.
Currently, our products are shipped through DHL, FedEx, SF, and UPS.
DELIVERY TIME1. Once the goods are shipped, estimated delivery time depends on the shipping methods you chose: FedEx International, 5-7 business days.
2. For in-stock parts, orders normally could be shipped out within 1-2days.
BR24T1MFJ-3AME2 Relevant information
The following parts are popular search parts in Integrated Circuits (ICs).
AIChipLink – Your Trusted Electronic Components Distributor
12.28 M
Listed Part Number3,000+
Leading Manufacturers4.9 M
In-stock SKU15,000+
Warehouse Area(㎡)
.png&w=256&q=75)





