

Renesas HD6417040ACFI28V
Manufacturer No:
HD6417040ACFI28V
Manufacturer:
Package:
112-BQFP
Description:
ROMless SH-2 32-Bit Microcontroller SuperH® SH7040 Series HD6417040 112 Pin 28MHz 112-BQFP
Quantity:
Delivery:




Payment:







In Stock :Available
Price not displayed? Please send an RFQ, and we will respond immediately.
HD6417040ACFI28V information
Renesas HD6417040ACFI28V technical specifications, attributes, parameters and parts with similar specifications to Renesas HD6417040ACFI28V.
- Type
- Parameter
- Factory Lead Time
- 16 Weeks
- Mount
- Surface Mount
- Mounting Type
- Surface Mount
- Package / Case
- 112-BQFP
- Number of Pins
- 112
- Operating Temperature
- -20°C~75°C TA
- Packaging
- Tray
- Series
- SuperH® SH7040
- Published
- 2003
- Part Status
- Obsolete
- Moisture Sensitivity Level (MSL)
- 3 (168 Hours)
- Frequency
- 28MHz
- Base Part Number
- HD6417040
- Operating Supply Voltage
- 5V
- Interface
- EBI/EMI, SCI
- Oscillator Type
- Internal
- Number of I/O
- 74
- RAM Size
- 4K x 8
- Voltage - Supply (Vcc/Vdd)
- 4.5V~5.5V
- Core Processor
- SH-2
- Peripherals
- DMA, POR, PWM, WDT
- Program Memory Type
- ROMless
- Core Size
- 32-Bit
- Connectivity
- EBI/EMI, SCI
- Watchdog Timer
- Yes
- Access Time
- 28 μs
- Data Bus Width
- 32b
- Number of Timers/Counters
- 7
- Radiation Hardening
- No
- RoHS Status
- RoHS Compliant
- Lead Free
- Lead Free
Download datasheets and manufacturer documentation for Renesas HD6417040ACFI28V.
ConflictMineralStatement:
HD6417040ACFI28V Overview
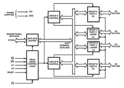
A 112-BQFP package is included. In total, it has 74 inputs and outputs. This Microcontroller is mounted using the Surface Mount mounting type. Powered by the 32-Bit core, it offers a wide range of capabilities. The type of memory that the program uses is ROMless. The temperature range of this Microcontroller is within the range of -20°C~75°C TA. SuperH® SH7040 series components belong to this electrical component. There is a SH-2 Core Processor inside MCU that provides this device with its power. HD6417040 is the base part number that you can use to find alternatives. A good performance can be achieved at a frequency of 28MHz, as long as it is operated at a low power consumption. On the chip, there are 112 pins that are accessible. A total of 7 timers/counters are included in the package.
HD6417040ACFI28V Features
112-BQFP package
Mounting type of Surface Mount
HD6417040ACFI28V Applications
There are a lot of Renesas Electronics America
HD6417040ACFI28V Microcontroller applications.
- Calculator
- Kindle
- Christmas lights
- 3D printers
- Washing machine
- Microwave ovens
- Home appliances
- Home video and audio
- Entertainment products
- Digital cameras
User Guide
Please verify all part numbers, quantities, and packaging preferences before placing your order. If substitutions are acceptable, please indicate this clearly. For time-sensitive projects, confirm estimated delivery dates and stock availability in advance. Once submitted, changes or cancellations may not be possible, especially for items marked as non-cancellable/non-returnable (NCNR). For international shipments, please ensure all import documentation is complete and accurate to avoid delays.
MEANS OF PAYMENTFor your convenience, we accept multiple payment methods in USD, including PayPal, Credit Card, and Wire Transfer. Net terms may be available for qualified customers upon approval.
RFQ (REQUEST FOR QUOTATIONS)Please ensure the part numbers and quantities are accurate and complete when submitting your RFQ.
Provide target prices and acceptable alternatives, if any, to speed up the quotation process.
Quotations are subject to stock availability and may vary with market conditions. Prices and lead times are not guaranteed until a purchase order is confirmed. Ensure your contact details are correct to avoid delays in response.

Step1:Prepare product

Step2:Desiccant Protection

Step3:Vacuum Packaging

Step4:Individual Package

Step5:Anti-collision Filling

Step6:Packaging Box
1. Shipping starts at $40, but some countries will exceed $40. For example (South Africa, Brazil, India, Pakistan, Israel, etc.).
2. Some specific products need to reach the minimum order quantity.
3. It may cost additional remote fees for delivery if you are in a remote area.
Currently, our products are shipped through DHL, FedEx, SF, and UPS.
DELIVERY TIME1. Once the goods are shipped, estimated delivery time depends on the shipping methods you chose: FedEx International, 5-7 business days.
2. For in-stock parts, orders normally could be shipped out within 1-2days.
HD6417040ACFI28V Relevant information
The following parts are popular search parts in Integrated Circuits (ICs).
AIChipLink – Your Trusted Electronic Components Distributor
12.28 M
Listed Part Number3,000+
Leading Manufacturers4.9 M
In-stock SKU15,000+
Warehouse Area(㎡)








