

Renesas ISL9021IRUSZ-T
Manufacturer No:
ISL9021IRUSZ-T
Manufacturer:
Package:
Description:
Fixed 0.5mm PMIC 6
Quantity:
Delivery:




Payment:







In Stock :Available
Price not displayed? Please send an RFQ, and we will respond immediately.
ISL9021IRUSZ-T information
Renesas ISL9021IRUSZ-T technical specifications, attributes, parameters and parts with similar specifications to Renesas ISL9021IRUSZ-T.
- Type
- Parameter
- Factory Lead Time
- 6 Weeks
- Mount
- Surface Mount
- Number of Pins
- 6
- Packaging
- Tape & Reel
- Published
- 2009
- JESD-609 Code
- e4
- Moisture Sensitivity Level (MSL)
- 1 (Unlimited)
- Number of Terminations
- 6
- ECCN Code
- EAR99
- Terminal Finish
- Nickel/Palladium/Gold (Ni/Pd/Au)
- Max Operating Temperature
- 85°C
- Min Operating Temperature
- -40°C
- Subcategory
- Other Regulators
- Packing Method
- TAPE AND REEL
- Technology
- CMOS
- Terminal Position
- DUAL
- Peak Reflow Temperature (Cel)
- 260
- Number of Functions
- 1
- Terminal Pitch
- 0.5mm
- Pin Count
- 6
- Number of Outputs
- 1
- Output Type
- Fixed
- Polarity
- Positive
- Current - Output
- 250mA
- Accuracy
- 0.8 %
- Voltage - Output
- 1.6V
- Output Voltage 1
- 1.6V
- Min Input Voltage
- 1.5V
- Max Input Voltage
- 5.5V
- Dropout Voltage
- 250mV
- Dropout Voltage1-Nom
- 0.15V
- Power Supply Rejection Ratio (PSRR)
- 60dB
- Min Current Limit
- 260mA
- Height Seated (Max)
- 0.55mm
- Radiation Hardening
- No
- RoHS Status
- RoHS Compliant
Download datasheets and manufacturer documentation for Renesas ISL9021IRUSZ-T.
ISL9021IRUSZ-T Overview
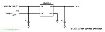
The package is delivered in a Tape & Reel case. On the Voltage regulator IC, there are 6 terminations that can be connected. This IC Regulator has a type of output called Fixed. At present, it can produce an output of up to 250mA. As you can see, the regulator IC has a total of 6 pins. The regulator has a total of 1 outputs to make sure that it delivers prompt, sufficient outputs. A dropout voltage of 10 volts is what makes it a dropout voltage. Depending on the chip, 6 pins may be available. As you can see, this regulator IC represents a typical Other Regulators component. There is a TAPE AND REEL way of packing the IC voltage regulators in the box. It operates in the 35μA Quiescent Current state. As a general rule, it is recommended that you use the IC voltage regulator when temperatures are below 85°C degrees Celsius. At the lowest operating temperature that can be reached by the chip, it is -40°C. Generally, this voltage regulator IC can output 1.6V volts on a system level.
ISL9021IRUSZ-T Features
250mV dropout voltage
Other Regulators subtageroy
TAPE AND REEL method of packing
The maximum operating temperature of -40°C
ISL9021IRUSZ-T Applications
There are a lot of Intersil (Renesas Electronics America)
ISL9021IRUSZ-T Linear Voltage Regulators applications.
- CPU power supply
- Switching regulator
- Multiple-power supply system
- Digital audio player
- Digital TV
- Smartcard
- Industrial equipment
- DVD and CD-ROM drive
- Quick charge protocols
- Measurement and control euipment
User Guide
Please verify all part numbers, quantities, and packaging preferences before placing your order. If substitutions are acceptable, please indicate this clearly. For time-sensitive projects, confirm estimated delivery dates and stock availability in advance. Once submitted, changes or cancellations may not be possible, especially for items marked as non-cancellable/non-returnable (NCNR). For international shipments, please ensure all import documentation is complete and accurate to avoid delays.
MEANS OF PAYMENTFor your convenience, we accept multiple payment methods in USD, including PayPal, Credit Card, and Wire Transfer. Net terms may be available for qualified customers upon approval.
RFQ (REQUEST FOR QUOTATIONS)Please ensure the part numbers and quantities are accurate and complete when submitting your RFQ.
Provide target prices and acceptable alternatives, if any, to speed up the quotation process.
Quotations are subject to stock availability and may vary with market conditions. Prices and lead times are not guaranteed until a purchase order is confirmed. Ensure your contact details are correct to avoid delays in response.

Step1:Prepare product

Step2:Desiccant Protection

Step3:Vacuum Packaging

Step4:Individual Package

Step5:Anti-collision Filling

Step6:Packaging Box
1. Shipping starts at $40, but some countries will exceed $40. For example (South Africa, Brazil, India, Pakistan, Israel, etc.).
2. Some specific products need to reach the minimum order quantity.
3. It may cost additional remote fees for delivery if you are in a remote area.
Currently, our products are shipped through DHL, FedEx, SF, and UPS.
DELIVERY TIME1. Once the goods are shipped, estimated delivery time depends on the shipping methods you chose: FedEx International, 5-7 business days.
2. For in-stock parts, orders normally could be shipped out within 1-2days.
ISL9021IRUSZ-T Relevant information
The following parts are popular search parts in Integrated Circuits (ICs).
AIChipLink – Your Trusted Electronic Components Distributor
12.28 M
Listed Part Number3,000+
Leading Manufacturers4.9 M
In-stock SKU15,000+
Warehouse Area(㎡).png&w=256&q=75)







