

Renesas ISL95311UIU10Z
Manufacturer No:
ISL95311UIU10Z
Manufacturer:
Package:
MSOP
Description:
10 Terminations 3.3V 10 Pin Digital Potentiometers I2C 128 Positions Min 2.7V V Max 5.5V V
Quantity:
Delivery:




Payment:







In Stock :Available
Price not displayed? Please send an RFQ, and we will respond immediately.
ISL95311UIU10Z information
Renesas ISL95311UIU10Z technical specifications, attributes, parameters and parts with similar specifications to Renesas ISL95311UIU10Z.
- Type
- Parameter
- Contact Plating
- Tin
- Mount
- Surface Mount
- Package / Case
- MSOP
- Number of Pins
- 10
- Packaging
- Bulk
- Published
- 2004
- Tolerance
- 20%
- JESD-609 Code
- e3
- Part Status
- Active
- Moisture Sensitivity Level (MSL)
- 2 (1 Year)
- Number of Terminations
- 10
- ECCN Code
- EAR99
- Temperature Coefficient
- 45 ppm/°C
- Resistance
- 50kOhm
- Number of Positions
- 128
- Max Operating Temperature
- 85°C
- Min Operating Temperature
- -40°C
- Subcategory
- Digital Potentiometers
- Technology
- CMOS
- Terminal Position
- DUAL
- Terminal Form
- GULL WING
- Peak Reflow Temperature (Cel)
- 260
- Number of Functions
- 1
- Supply Voltage
- 3.3V
- Frequency
- 400kHz
- Time@Peak Reflow Temperature-Max (s)
- 40
- Pin Count
- 10
- Power Supplies
- 3/5V
- Temperature Grade
- INDUSTRIAL
- Interface
- I2C
- Number of Circuits
- 1
- Max Supply Voltage
- 5.5V
- Min Supply Voltage
- 2.7V
- Operating Supply Current
- 1mA
- Memory Type
- Non-Volatile
- Max Supply Current
- 1mA
- Converter Type
- DIGITAL POTENTIOMETER
- Taper
- Linear
- Total Resistance
- 50000Ohm
- Length
- 3mm
- Width
- 3mm
- Radiation Hardening
- No
- RoHS Status
- RoHS Compliant
- Lead Free
- Lead Free
Download datasheets and manufacturer documentation for Renesas ISL95311UIU10Z.
Datasheets:
ISL95311UIU10Z Overview
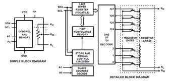
It is contained in MSOP pacakge.This pentometer begins to be stored by Non-Volatile.There are embedded 1 circuits in this digital potentiometer.It is accessible in the Bulk package to secure the digital analogic.Pentometer consists of 128 positions.It is designed 10 terminations.This programmable potentiometer includes 1 functions for your reference.The total resistance of the speed potentiometers will be 50000Ohm as shown.It is powered by 3.3V to deliver its perfomance.10 pins can be seen in The digi devices.50kOhm can limit the flow.Digital potentiometer is mounted by Surface Mount.This potentiameter gets 10 pins on it.Its type of converter can be classify by DIGITAL POTENTIOMETER.It is capable of delivering voltage at 3/5V.The maximum 85°C ensures that the digital resistor runs stablily.To maintain reliability, it operates at a minimum working temperature of -40°C.The pentometer is from Digital Potentiometers family.It can handle a maximum supply voltage of 5.5V.It can work with the minimum supply voltage of 2.7V.To deliver its performance, the supply current need to be operated at the range of 1mA.It is capable of maintaining high accuracy with the frequency of 400kHz.Digital potentiometer can handle a maximum supply current of 1mA.
ISL95311UIU10Z Features
Available in MSOP package
1 Circuits
10 pins
ISL95311UIU10Z Applications
There are a lot of Intersil (Renesas Electronics America)
ISL95311UIU10Z Digital Potentiometers applications.
- Testing equipment
- PC
- Cell phone
- Household appliances
- Modern office equipment
- Industrial control
- Medical equipment
- Refrigerator
- Programmable computer
- Power supply
User Guide
Please verify all part numbers, quantities, and packaging preferences before placing your order. If substitutions are acceptable, please indicate this clearly. For time-sensitive projects, confirm estimated delivery dates and stock availability in advance. Once submitted, changes or cancellations may not be possible, especially for items marked as non-cancellable/non-returnable (NCNR). For international shipments, please ensure all import documentation is complete and accurate to avoid delays.
MEANS OF PAYMENTFor your convenience, we accept multiple payment methods in USD, including PayPal, Credit Card, and Wire Transfer. Net terms may be available for qualified customers upon approval.
RFQ (REQUEST FOR QUOTATIONS)Please ensure the part numbers and quantities are accurate and complete when submitting your RFQ.
Provide target prices and acceptable alternatives, if any, to speed up the quotation process.
Quotations are subject to stock availability and may vary with market conditions. Prices and lead times are not guaranteed until a purchase order is confirmed. Ensure your contact details are correct to avoid delays in response.

Step1:Prepare product

Step2:Desiccant Protection

Step3:Vacuum Packaging

Step4:Individual Package

Step5:Anti-collision Filling

Step6:Packaging Box
1. Shipping starts at $40, but some countries will exceed $40. For example (South Africa, Brazil, India, Pakistan, Israel, etc.).
2. Some specific products need to reach the minimum order quantity.
3. It may cost additional remote fees for delivery if you are in a remote area.
Currently, our products are shipped through DHL, FedEx, SF, and UPS.
DELIVERY TIME1. Once the goods are shipped, estimated delivery time depends on the shipping methods you chose: FedEx International, 5-7 business days.
2. For in-stock parts, orders normally could be shipped out within 1-2days.
ISL95311UIU10Z Relevant information
The following parts are popular search parts in Integrated Circuits (ICs).
AIChipLink – Your Trusted Electronic Components Distributor
12.28 M
Listed Part Number3,000+
Leading Manufacturers4.9 M
In-stock SKU15,000+
Warehouse Area(㎡)



.png&w=256&q=75)




